|
SAMOHODNI
UREĐAJ ZA ČIŠĆENJE VODENIH POVRŠINA
P20181144A
 ERVIN MATIĆ
Mihatovići
25, Poreč
mob; 099-5159010
ervin@iikaro.com
Ovaj izum spada u
područje uređaja za održavanje i čišćenje vodenih površina kao npr. morskih lučica, marina i uvala općenito.Tehničko rješenje ovog izuma je kako
očistiti vodene površine od sitnog otpada ili drugih plutajućih tvari
bez potrebe direktnog upravljanja strojem, odnosno automatsko ostvarivanje
čišćenja bez, ili sa minimalnim brojem operatera uz znatno skraćivanje
vremena i opreme potrebnog za izvršenje postupka održavanja čistoće vodenih
površina.
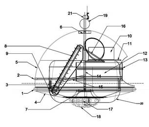
Osnovni sistem
funkcioniranja uređaja je da
pomoću elevatora, podiže iz vode
nakupine ili pojedinačne komade otpada koji se elevatorom prebacuju u spremnik
otpada (12), dok se putem
senzora dodira (25) i mlaznica (9), vrši funkcija
potpuno samostalnog i neovisnog kretanja te opsluživanja zadanog akvatorija.
U posebnim
situacijama može se koristiti veći broj uređaja tako
da je moguće opsluživati i veće vodene površine u
slučaju većeg zagađenja (naftne mrlje, alge) na način da se više uređaja
formira neprobojna barijera. U tom slučaju uređaj je opremljen
specijalnim usisnikom kojim će prikupljati alge sa dna ili razliveno gorivo s
površine, odlagati ga u specijalne vreće te ih na poseban način grupirati kako bi bile skupljene plovilom za
daljnje zbrinjavanje i transport. Koristeći tu mogućnost uređaji se mogu pozicionirati na zadanu
koordinatu i pokriti veće površine onečišćenja, te na taj način vrlo učinkovito
odstraniti sve nečistoće.
NUDE SE SVI OBLICI SURADNJE

NAPRAVA ZA ČIŠĆENJE BOJENJE I ODRŽAVANJE STUPOVA - P20171211A
AUTOR; ERVIN MATIĆ
MIHATOVIĆI
25 - 52440
POREČ
TEL;052 421316; MOB; 0995159010
MOB; ervin@iikaro.com ili
ervin.matic@pu.t-com.hr
Naprava za čišćenje, bojenje i održavanje rasvjetnih stupova
rješava tehnički problem čišćenja, bojenja i
održavanja rasvjetnih ili drugih stupova uz putove, ceste i autoceste bez
potrebe penjanja radnika po stupu sa minimalnim brojem operatera, uz minimaliziran
opseg operativnog prostora potrebnog za ljudstvo, opremu i alat, te znatno
skraćivanje vremena potrebnog za izvršenje postupka popravka ili održavanja.
Sastoji se od spojene
i učvršćene glavne konstrukcije (1) te odstojnika glavne konstrukcije (9) koji spojeni čine jednu čvrstu cjelinu,
a sadrži glavnu pogonsku osovinu (4), ležaj (11) te pogonsku jedinicu (3) koja
pokreće napravu po stupu, gdje glavni pogonski valjak (2), stezni valjak (6), te
vodeći valjak (12), omogućavaju prianjanje naprave na stup.
Naprava je konstruirana na način da se na
osnovnu napravu za penjanje dodaju dodaci (alati) za pojedinu potrebitu
funkciju koja se mora izvršiti, te su vezani za samu funkcionalnost i neophodni su dio naprave za obavljanje
željene funkcije .
NUDI SE PROIZVOD …

|